Cерия Iwata Hi-Line разработана для художников, которые нуждаются в чрезвычайном контроле, точном и детальном распылении. Новый узел - механизм предустановки подачи воздуха - Micro Air Control (MAC)*. Материальное сопло - 0.3мм. Встроенный бачок для краски 9мл, расположение верхнее. Цвет - хром.
Особенности:
- аэрограф двойного независимого действия;
- внутреннего смешения;
- Micro Air Control (MAC)*;
- гриф с вырезом и механизмом ограничения подачи материала;
- клапан предварительной настройки подачи воздуха;
- резьбовая фиксируемая посадка сопла;
- тефлоновые уплотнители для сопла и иглы.
* В отличие от аэрографов старого модельного ряда, в аэрографах IWATA серии Hi-Line, для обеспечения самой точной подачи воздуха, введен новый узел - механизм предустановки подачи воздуха - Micro Air Control (MAC). Передовая технология MAC позволяет обеспечить сверхточный контроль за потоком воздуха на выходе, который полностью отличается от потока воздуха, подающегося компрессором. MAC позволяет пользователю достичь эффекта точечного распыления за счет быстрой настройки вентиля. Благодаря способности изменять оптимальный поток воздуха, MAC идеально подходит для создания тонких линий и выполнения детализированных работ. Полное открытие вентиля позволит быстро очистить аэрограф при смене цветов и производить более крупное распыление.
Отлично подходит для:
- иллюстрации;
- изобразительное искусство;
- Body Art;
- обработка дерева;
- автоаэрография.
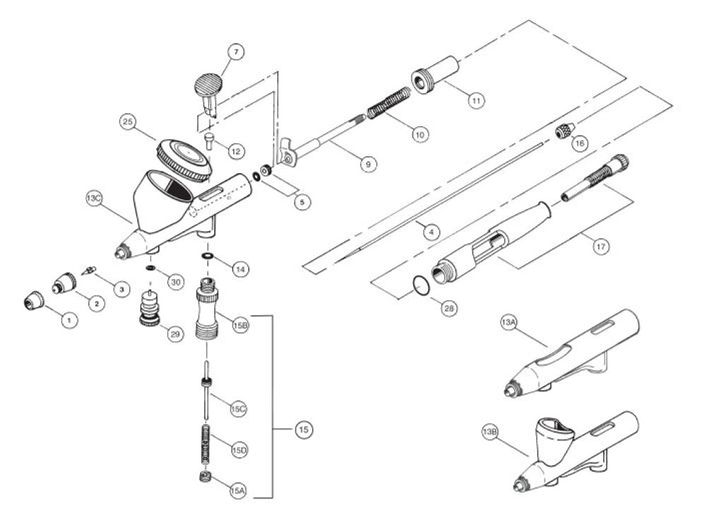
Схема устройства аэрографа Iwata CH-Hi-Line (0,3mm):
|
№
|
parts
|
AH | BH | CH |
| 1 | needle cap | 98531030 | 98531030 | 98532030 |
| 2 | nozzle cap | 98532440 | 98532440 | 98532020 |
| 3 | fluid nozzle | 98531430 | 98531430 | 98535440 |
| 4 | fluid needle | 98530030 | 98530030 | 98532040 |
| 5 | needle packing screw | 98532430 | 98532430 | 98535400 |
| 7 | main lever | 98532240 | 98532240 | 98532240 |
| 9 | needle chucking guide | 98533430 | 98533430 | 98530410 |
| 10 | needle spring | 98531060 | 98531060 | 98534370 |
| 11 | spring guide | 98531410 | 98531410 | 98531410 |
| 12 | valve piston | 98532140 | 98532140 | 98532140 |
| 13a | body-a | 98533440 | ||
| 13b | 98534440 | |||
| 13c | 98530450 | |||
| 14 | packing valve piston (o- ring) | 93906830 | 93906830 | 93906830 |
| 15 | air valve set | 98534280 | 98534280 | 98532260 |
| 16 | needle chucking nut | 98531080 | 98531080 | 98531080 |
| 17 | pre-set handle set | 98534430 | 98534430 | 98534430 |
| 25 | fluid cup lid | 98535380 | ||
| 28 | packing handle (o- ring) | 98012600 | 98012600 | 98012600 |
| 29 | micro air control valve | 98530440 | 98530440 | 98530440 |
| 30 | packing mac valve (o- ring) | 98532460 | 98532460 | 98532460 |
